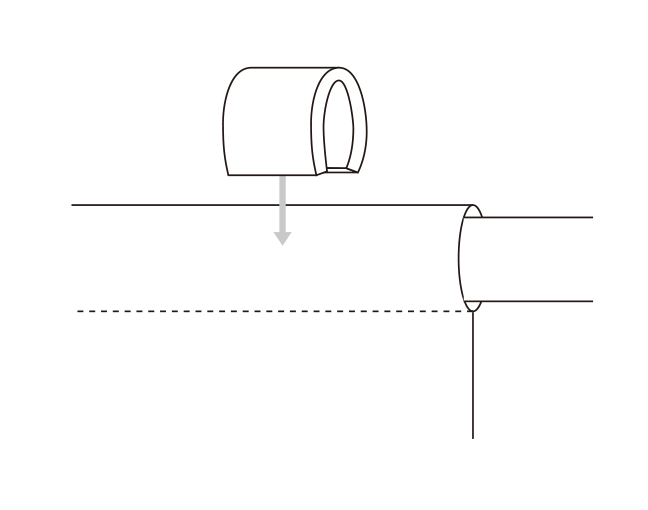
POPツールを選ぶ パーツ組立例 POPパーツ 押出成形トレー・パイプ プラスチックパーツ メタリックパーツ ギミックツール ( 動・光・音・香・映 ) サインディスプレイ ストアツール 押出成形トレー・パイプ 押出成形品 パイプ用パーツ アートボール ラッパ かぶせ玉 エンドキャップ CCPキャップ ビニールキャップ パイプストッパー 伸縮ジョイント 固定ジョイント 接続パーツ ジョイント付パイプホルダー のぼり用ジョイント のぼり用割キャップ ペーパーホルダー チチ止め ホルダー付ヘッドパーツ ジョイントパイプホルダー ターンジョイント パネルホルダー ダブルパイプホルダー ストレートジョイント L型パイプホルダー パイプホルダー フック付パイプホルダー バナーフラッグパーツ 壁面用フラッグパーツ スタンド用ジョイント パイプフック スタンドパーツ プラ円盤・角ベース 押出成形トレー・パイプ パイプ用パーツ パイプストッパー パイプに取付けた生地がずれないように保持するパーツです。 透明で目立ちません。 製品仕様 製品名 パイプストッパー 型式 パイプストッパー 材質 ABS 色 透明 この商品のお問い合わせ